Turning is an important part of precision manufacturing. These methods shape metal parts by spinning the workpiece and removing material with a cutting tool. Many industrial fields such as automotive, aerospace as well as electronics depend on these processes. Therefore knowing the different turning operations helps manufacturers get smooth surfaces, accurate dimensions and also affordable results.
10 Types of Turning Operations
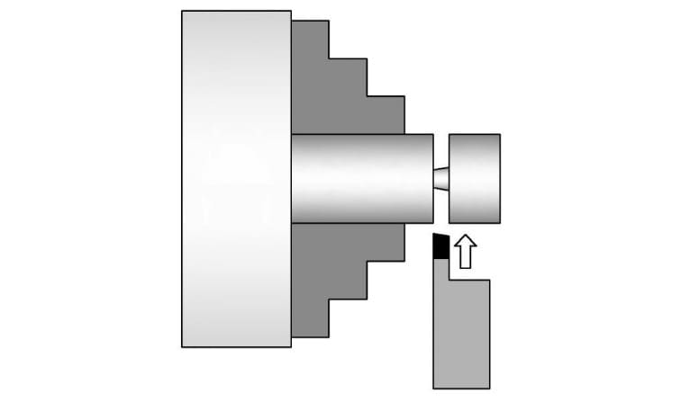
1. Cylindrical (Straight) Turning

Cylindrical turning removes material along the length of a spinning workpiece. This process reduces the diameter & also forms a smooth, round surface.
How It’s Done
A single point cutting tool moves in line with the workpiece’s axis. This tool cuts away the outer layers step by step until the part reaches the needed size.
Where It’s Used
Manufacturers use cylindrical turning to make rods, rollers, shafts and other round parts. This method is common in aerospace, automotive and medical device production.
Key Advantages
Cylindrical turning delivers precise dimensions and smooth finishes. It controls chips well and is important for preparing parts for further machining.
2. Conical (Taper) Turning

Conical turning creates a surface where the diameter changes gradually along the length. The result is a cone shaped or angled part.
How It’s Done
Operators can use different techniques like the compound rest, taper attachment, tailstock offset or CNC programming to produce tapers and complicated angles.
Where It’s Used
Used to make tools, shafts, machine parts as well as pipe fittings that need precise angles and smooth connections.
Key Advantages
Conical turning improves how parts fit together and makes assembly easier. It also reduces weight and supports parts that must handle high stress. Both precision and high volume manufacturing depend on this process.
3. Surface Texturing (Knurling)

Surface texturing or knurling creates patterns or textures on cylindrical parts. This process improves how the part looks, feels & functions.
How It Works
This process uses hardened wheels with particular patterns—straight, diagonal or diamond. These wheels press against the spinning workpiece. The pattern forms by cold forming the surface, not by cutting away material.
Where It’s Used
Manufacturers use knurling for knobs, fasteners, tool handles and thumb screws. The textured surface helps users control the part and increases safety.
Key Advantages
Knurling makes parts easier to hold, prevents slipping and adds a decorative touch. It also helps with manual assembly and allows for press‐fit connections.
4. Threading – for Perfect Pitch

Threading forms helical grooves or threads on the inside or outside of cylindrical parts. These threads make it possible to fasten parts together and also allow mechanical movement.
How It Works
Operators use dies, threading inserts or single point tools on a lathe to cut threads. CNC lathes deliver high accuracy & repeatability. They can also handle complicated thread types such as metric or ACME.
Where It’s Used
Threading is vital to make bolts, nuts, screws, pipe fittings, medical implants & aerospace fasteners.
Key Advantages
This operation creates strong and reusable joints. It also makes assembly and disassembly simple and provides sealing for fluid systems.
5. Channel Cutting (Grooving)

What It Is
Channel cutting or grooving machines cut narrow or even recessed channels on the inside or outside of rotating parts. These channels serve important roles in function & assembly.
How It Works
Special grooving tools—either single point or form types—cut grooves to precise dimensions. CNC lathes control the width and depth to match design needs.
Where It’s Used
Grooving is common for O ring seats, snap rings, retaining clips and sealing parts in pneumatic and hydraulic equipment.
Key Advantages
This operation improves how parts fit together, supports sealing, allows locking features and also assures reliable performance under pressure.
Check out Richconn’s precision grooving capabilities.
6. Parting Off

Separating or parting‐off removes a finished part from the remaining bar stock. This process usually takes place at the end of a turning cycle.
Method
A narrow blade or parting tool moves directly into the spinning workpiece. CNC controls manage the depth with precision which leads to a clean cut and reduces material loss.
Uses
It is used for high volume production of bushings, pins, washers and spacers. This method is particularly common in electronics and automotive manufacturing.
Advantages
Separating reduces scrap, increases output and delivers uniform part lengths.
Explore Richconn’s parting and finishing services
7. Internal Hole Enlargement (Boring)

Internal hole enlargement or boring increases the size of already drilled holes and refines their finish. This improves accuracy of the diameter and also refines the internal surface.
Method
A boring bar attached to a lathe or CNC turning center travels along the axis of the rotating workpiece. Depending on the shape of the part, boring can occur in either a vertical or horizontal direction.
Uses
Engine blocks, valve bodies, gear housings, hydraulic cylinders & aerospace parts mostly need boring for precise internal measurements.
Advantages
Boring gives smoother surfaces, close tolerances, better alignment of holes & dependable fits for assembled components.
8. Hole Creation by Drilling

Drilling forms round holes in a workpiece by pressing a rotating drill bit into the material. This mostly starts the process of making internal features.
How It Works
During lathe based drilling, the workpiece spins while the drill bit stays still and moves into the center. CNC lathes can control the depth precisely and automate drilling of several holes in sequence.
Where It’s Used
Industries rely on drilling to make holes for fasteners, pins, bolts and channels for fluids. Parts such as housings, flanges & connectors mostly need this process.
Key Advantages
Drilling offers speed and low cost. It works with many materials and supports a broad range of hole sizes.
9. Reaming (for Precision Hole Finishing)

Reaming fine tunes and smooths out holes that have already been bored or drilled. This improves the surface finish and brings holes to a precise diameter.
How It Works
A reamer which is a cylindrical tool with multiple cutting edges removes a small layer of material. Operators perform reaming after boring or drilling to achieve tight tolerances and a smooth finish.
Where It’s Used
Engine parts, aerospace assemblies, medical devices and mold cavities mostly need reaming. These parts need accurate & smooth holes.
Key Advantages
Reaming helps improve roundness, perfect alignment, delivers exact fits as well as creates high quality surface finishes for important parts.
10. Facing

Facing produces a smooth and flat surface at the end of a cylindrical part. This assures the end sits at a right angle to the part’s axis.
How It Works
The cutting tool moves across the face of a spinning workpiece mostly at a 90° angle to the axis. CNC machines help control the surface quality & depth during facing.
Where It’s Used
Facing prepares the ends of shafts, flanges, rods, pipes and other round parts. It is important when these ends need to be square and accurate.
Key Advantages
Facing improves symmetry, creates proper surfaces for mating and boosts both the appearance and dimensional accuracy of the part.
Advanced Turning Methods
Speed, precision and adaptability are essential items in today’s manufacturing. Modern turning methods address complicated needs which traditional techniques cannot meet. Industries such as medical, aerospace as well as electronics use them for demanding applications.
Hard Turning
Machining materials with a hardness above 45 HRC needs hard turning. Manufacturers mostly choose this method instead of grinding. Rigid CNC machines along with specialized ceramic or cubic boron nitride (CBN) tools perform the work.
Hard turning works well for hardened steels in bearings, gears and die parts. It saves time, completes tight tolerance machining in one setup and also reduces the need for multiple setups.
Swiss Type Turning for Micro Precision
Swiss‐type turning uses a sliding headstock and a guide bushing to keep long, thin parts stable near the cutting tool. This method is crucial for producing small and detailed items such as watch parts, bone screws and electronic connectors. It maintains high accuracy and keeps deflection low.
High Speed Turning
High speed turning uses much faster cutting speeds & feed rates. High performance lathes and coated carbide tools make this possible. This process increases productivity, shortens cycle times and improves surface finish.
CNC Turning Centers (Multitaskers)
CNC turning centers can turn, drill and mill using only one machine. These machines automate the process and help prevent human error. They are well suited for environments that need both high precision and a mix of different parts.
Factors That Affect Turning Operations

Many important factors shape the accuracy, efficiency and quality of turning works in precision manufacturing.
Material Type
Type of material like aluminum, titanium, steel or plastic—directly impacts machinability. Cutting speed, surface finish and tool wear all depend on this property. Harder materials need slower cutting speeds and special tools. Similarly softer materials let you machine faster.
Parameters for Cutting
Operators must control spindle speed, feed rate and depth of cut with care. Using high speeds can boost productivity. However if speeds are not matched to the tool’s geometry and material then tools may get damaged.
Choice of Tool for You
Selection of right coating, insert shape, cutting tool and hardness is also very necessary. The best combination extends tool life and improves surface finish. It also shortens cycle times which makes production more affordable.
Coolant choice, machine stability, chip removal and tool holder rigidity are also important. These elements work together to affect productivity, dimensional accuracy and surface quality.
Uses in Precision Manufacturing
Many industrial fields depend on turning operations to get parts that are reliable, precise and consistent. Manufacturers can use turning with a number of materials. Every industry selects particular turning methods to match its needs for tolerance, performance and material type.
Aerospace
Aerospace manufacturers need parts such as actuators, turbine shafts, landing gear parts as well as engine housings to handle high stress and meet tight tolerances. CNC turning and hard turning work well for machining tough materials like Inconel, titanium and stainless steel. These processes deliver the durability and accuracy needed for aerospace applications.
Electronics
Electronics manufacturing uses turning to produce tiny parts like heat sinks, connector pins, contact terminals and enclosures. These parts need very tight tolerances. Therefore manufacturers mostly choose aluminum, copper or engineered plastics for these parts.
Automotive Sector
Automotive production uses turning to make axles, pistons, brake rotors, gear shafts and steering parts. High speed CNC turning helps in the production of large quantities. It also assures each part remains consistent, accurate in size as well as long lasting.
Medical Field
Medical device manufacturing demands both biocompatible materials and micro level accuracy. Swiss type turning is a preferred method to get small, intricate parts such as surgical pins, bone screws and orthopedic implants. This method can use stainless steel or titanium and also meets strict regulatory guidelines.
Oil and Gas
Gas and oil industry uses turning to create couplings, drill collars, pressure fittings and valve parts. These components must resist extreme pressure, corrosion as well as temperature. Boring and hard turning are particularly important for meeting these demands.
Richconn provides custom CNC turning services for any type of industry. We handle both small parts & complicated assemblies and always have a strict focus on precision and reliability.
To Sum Up
Modern manufacturing relies on turning operations as a core process. These methods handle everything from simple shaping to producing intricate parts. Richconn offers turning services designed to match a broad range of industry needs. Our CNC turning delivers consistent results, whether you require custom components or large scale production. You can count on us for efficiency, precision as well as dependable performance in every project.
Related Questions
CNC turning uses computer control to automate machining and maintain high accuracy. Manual turning depends on the operator’s expertise and works best for prototypes or small batches.
Coolant keeps temperatures down, helps remove chips and lubricates the cutting zone. It also protects the tool from wear and improves the final surface quality.
Operators usually select from boring bars, grooving tools, threading inserts, carbide inserts and high speed steel (HSS) tools. This choice depends on the workpiece material and the desired surface finish.
CNC turning works best for round or cylindrical parts. For parts with flat surfaces or complicated shapes, CNC milling is usually a better choice.
CNC lathes focus on turning tasks only. CNC turning centers offer more—they handle turning along with drilling, milling, tapping and boring in one setup.



